50件の商品が見つかりました。21から 40件までの商品を表示します。
Pearl
TAMA
YAMAHA
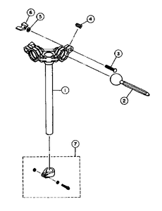
MTH900
タムホルダー
MTH900AM/900AS 2005年1月生産~
MTH900AM/900AS ~2004年12月生産
MTH900BM 2005年1月生産~
MTH900BM ~2004年12月生産
MTH900M ~2004年12月生産
MTH900M (2005年1月生産-)
MTH905 / MTH905
MTH909
SA10
TA30
CL940B
CL940LB
CL945/945A/945L/945LA/940/940A/940L/940LA/920/912/910/810/620
CL945B
CL945LB
Hipgig TH-HG
TH-850
TH52W/51W
TH61W
1
2
3