| 本体型番 | 75X | メーカー | Pearl | 
| 価格(税込) | 商品名 | その他ホルダー | |
|  | |||
 
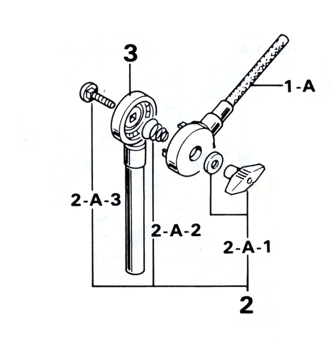
| 図中番号 | 部品番号 | 部品名 | 部品価格(税込) | 注文 | 
| 1-A | CBT-75 | ティルター部 | 問い合わせ | |
| 2 | SN-40A | クランプボルトセット(スプリング付) | 問い合わせ | |
| 2-A-1 | M-8B | 廃盤代替えUGN-8 ウイングナット(ワッシャー付) | ¥440 | |
| 2-A-2 | SP-16 | 廃番代用品 SP-27N スプリング | ¥440 | |
| 2-A-3 | SC-36B | 品番変更 SC-36B-ED クランプボルト | ¥440 | |
| 3 | TU-73A | 下部パイプ | 問い合わせ |