熊本市中央区九品寺6-1-22 TEL096-362-8028 FAX096-300-3596

本体型番

CSAT912

メーカー

YAMAHA

価格(税込)

商品名

アタッチメント

  • 図の番号を御確認の上、下注文リストの、「CARTに入れる」ボタンを押していただくとショッピングカートに入ります。
  • 製造中止の型番も含まれておりますので,入手不可能の場合は御容赦下さい
  • 申し訳ありませんが不良品以外の返品はいたしかねますので、くれぐれもお間違えのないようにお願いいたします。




  • 御希望の商品のカートに入れるボタンを押していただくとショッピングカートに入ります。

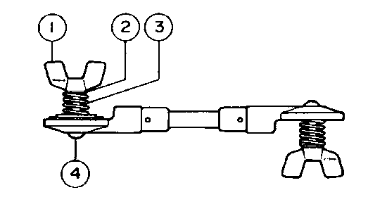
    図中番号

    部品番号

    部品名

    部品価格(税込)

    注文

    1

    U0123510

    ヤマハナットM8

    ¥594

    2

    EX800910

    代替え部品 U0525041 平座金M8小型丸N

    ¥418

    3

    U0653060

    廃盤につき供給不可 チルタースプリング

    廃番入手不可

    4

    U0653050

    ヘッダーボルトL-30

    ¥418