熊本市中央区九品寺6-1-22 TEL096-362-8028 FAX096-300-3596

本体型番

ASD0104/BSD094/MS010PE/12PE

メーカー

YAMAHA

価格(税込)

商品名

ストレイナー

  • 図の番号を御確認の上、下注文リストの、「CARTに入れる」ボタンを押していただくとショッピングカートに入ります。
  • 製造中止の型番も含まれておりますので,入手不可能の場合は御容赦下さい
  • 申し訳ありませんが不良品以外の返品はいたしかねますので、くれぐれもお間違えのないようにお願いいたします。




  • 御希望の商品のカートに入れるボタンを押していただくとショッピングカートに入ります。

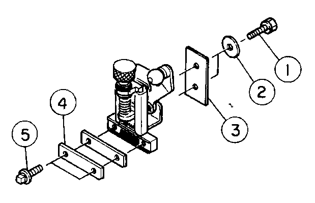
    図中番号

    部品番号

    部品名

    部品価格(税込)

    注文

    Left(ReleaseSide

    U0201116

    廃番につき供給不可 集成

    廃番入手不可

    1

    U0035510

    十字穴付六角セムスネジM4×16ZY

    ¥176

    2

    U0123290

    厚座金φ4ZY

    ¥176

    3

    U0207560

    ストレイナーボルト(P)プレート

    ¥264

    4

    U0204210

    スナッピー固定板(2)

    ¥418

    5

    U0603480

    締付角ボルトM5×13CR

    ¥418