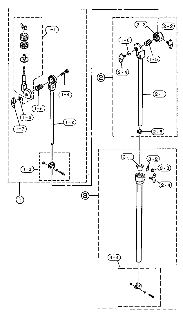
| 本体型番 | CH745 | メーカー | YAMAHA | 
| 価格(税込) | 商品名 | シンバルホルダー | |
|  | |||
 
| 図中番号 | 部品番号 | 部品名 | 部品価格(税込) | 注文 | 
| 1 | U0270580 | 廃番代替え U0651685 スライドバー14ソウシュウセイ CH745.CH743 | ¥9020 | |
| 1-1 | U0651570 | 廃番代替えなし チルターF(上)集成 | 問い合わせ | |
| 1-2 | U0270590 | 廃番 スライドバー14シュウセイ CH745.CH743 | 問い合わせ | |
| 1-3 | U0600220 | 廃番入手不可 スライドバーマワリトメカナグシュウセイ CS945 | 問い合わせ | |
| 1-4 | U0663210 | ヘッダーボルトL-40 | ¥418 | |
| 1-5 | U0654360 | 廃盤につき供給不可 チルタースプリング(2) | 問い合わせ | |
| 1-6 | EX800910 | 代替え部品 U0525041 平座金M8小型丸N | ¥418 | |
| 1-7 | U0123330 | ウイングナットM8N | ¥418 | |
| 2 | U0270600 | CHウエパイプ19X350(2)ソウシュウセイ CH745 | ¥3190 | |
| 2-1 | U0270610 | CHウエパイプ19X350(2)シュウセイ CH745 | ¥1760 | |
| 2-2 | U0123370 | ウイングボルト(L)M8x15HB | ¥594 | |
| 2-3 | U0612060 | ブームチルター F(ウエ) CS945 廃番代替えなし | 問い合わせ | |
| 2-4 | U0123310 | ウイングボルトM8×15 | ¥418 | |
| 2-5 | U0648110 | ダンパーリング19.1 | ¥264 | |
| 3 | U0270620 | 廃番代替えなし CHシタパイプ22.2X300(3)シュウセイ CH745 | 問い合わせ | |
| 3-1 | U0607310 | ナイロンクラッチ G(19) HS650 | ¥418 | |
| 3-2 | U0603660 | コテイリング G(19) HS650 ◯ | ¥418 | |
| 3-3 | U0603630 | クランプベースナツト SS940 | ¥418 | |
| 3-4 | U0600210 | 廃番代替えU0600181 パイプマワリドメカナグ22.2(4)シュウセイ J.KiT/BD16K | ¥1100 |