熊本市中央区九品寺6-1-22 TEL096-362-8028 FAX096-300-3596

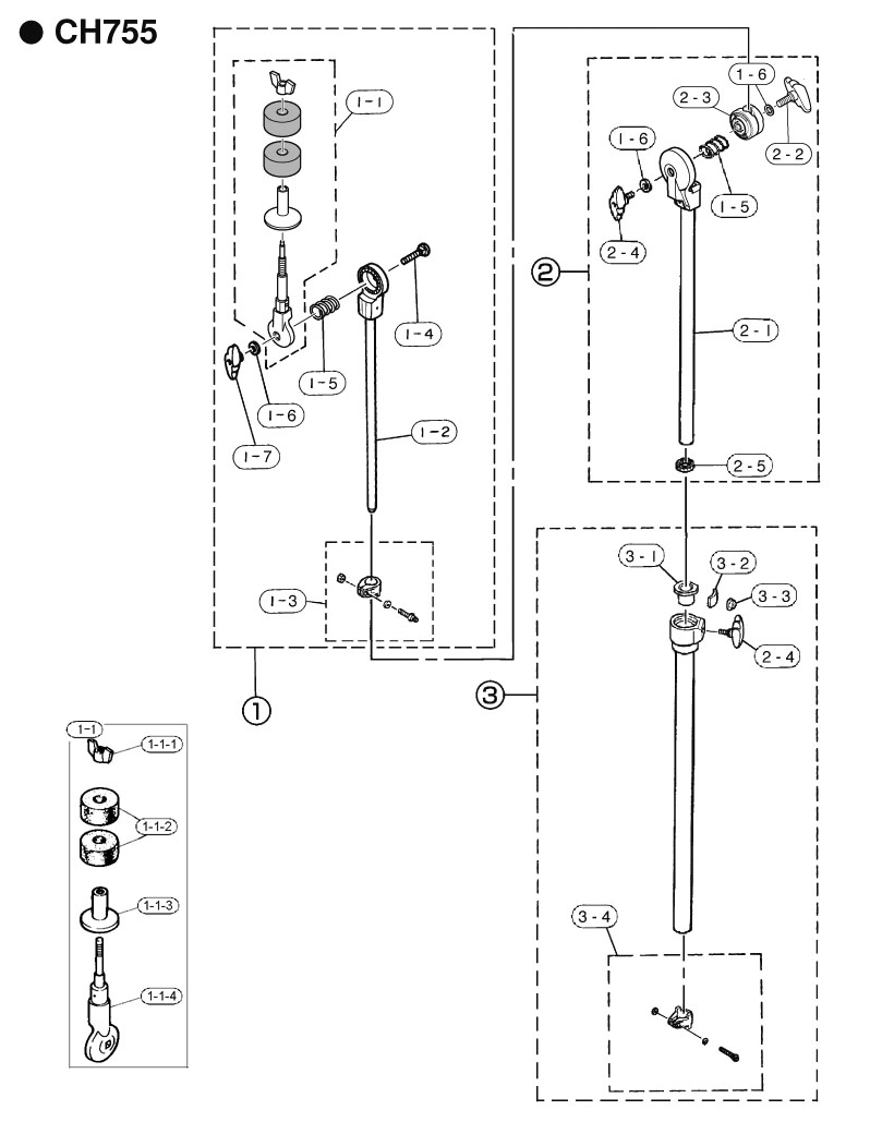
本体型番

CH755

メーカー

YAMAHA

価格(税込)

商品名

シンバルホルダー

  • 図の番号を御確認の上、下注文リストの、「CARTに入れる」ボタンを押していただくとショッピングカートに入ります。
  • 製造中止の型番も含まれておりますので,入手不可能の場合は御容赦下さい
  • 申し訳ありませんが不良品以外の返品はいたしかねますので、くれぐれもお間違えのないようにお願いいたします。




  • 御希望の商品のカートに入れるボタンを押していただくとショッピングカートに入ります。

    図中番号

    部品番号

    部品名

    部品価格(税込)

    注文

    1

    U0651688

    CSスライドバー 11 ソウシュウセイ(3) CHN CS755

    ¥8140

    1-1

    U0651975

    チルターG(ウエ)シュウセイ 2

    ¥3190

    1-1-1

    U0123531

    ヤマハナット M8 (ショウ) CHN

    ¥418

    1-1-2

    U0658010

    フェルトワッシャφ40x20T

    ¥264

    1-1-3

    U0657040

    ボルトカバー(3)

    ¥418

    1-2

    U0651706

    スライドバー 11 シュウセイ (2) CHN

    ¥3740

    1-3

    U0600225

    スライドバーマワリドメカナグシュウセイ CHN ○

    ¥1100

    1-4

    U0663210

    ヘッダーボルトL-40

    ¥418

    1-5

    U0654360

    廃盤につき供給不可 チルタースプリング(2)

    廃番入手不可

    1-6

    U0525040

    平座金M8小形丸N (代替えEX800910)

    ¥176

    1-7

    U0123330

    ウイングナットM8N

    ¥418

    2

    U0270755

    CHウエパイプ19X350 ソウシュウセイ (3) CHN

    ¥6490

    2-1

    U0270615

    CHウエパイプ19X350 シュウセイ (2) CHN

    ¥2640

    2-2

    U0123760

    ウイングボルト(L) M8X21○

    ¥836

    2-3

    U0600315

    ブームチルター G (ウエ) シュウセイ CHN○

    ¥2640

    2-4

    U0123310

    ウイングボルトM8×15○

    ¥418

    2-5

    U0648110

    ダンパーリング19.1

    ¥264

    3

    U0270625

    CHシタパイプ 22.2X290 シュウセイ (2) CHN

    ¥5060

    3-1

    U0607310

    ナイロンクラッチ G(19) HS650

    ¥418

    3-2

    U0603660

    コテイリング G(19) HS650 ◯

    ¥418

    3-3

    U0603630

    クランプベースナツト SS940

    ¥418

    3-4

    U0600181

    パイプマワリドメカナグ 22.2 シュウセイ CHN

    ¥1100